固定电话:

0517-86881563

手机热线:

153-1230-7860

当前位置:首页 >> 新闻动态
一种电磁流量计的无衬里测量头的技术
技术领域
本发明涉及测量仪器技术,特别是涉及一种电磁流量计的无衬里测量头的技术。
 
背景技术
电磁流量计是一种流量仪表,使用时将其测量头与待测管道连接,即可测量该被测介质的流量。现有电磁流量计的测量头主要由一个导电的导流管、两个测量电极和两个励磁线圈组成,两个测量电极和两个励磁线圈沿导流管周向轴对称交替布设在导流管管壁上,在导流管管壁上开设有两个测量孔,两个测量电极通过两个测量孔接触被测介质,测量电极与测量孔孔壁之间均密封,以防被测介质从测量孔流出,导流管的内壁粘贴有一层橡胶绝缘衬里将被测介质与导流管管壁隔开。现有电磁流量计的测量头在流量测量过程中,如果出现负压以及热冲击造成的温度剧烈变化,绝缘衬里很容易与导流管内壁脱离、剥落、拉破等,从而导致测量电极密封泄漏,会使流量信号被短路而导致仪表失效,其测量可靠性较差。另外,由于导流管为导电管体,因此在流量测量过程中存在除测量电极之外的法向电流,会对流量信号造成干扰,影响测量精度。
 
发明内容
针对上述现有技术中存在的缺陷,本发明所要解决的技术问题是提供一种测量可靠性及测量精度高的电磁流量计的无衬里测量头。
为了解决上述技术问题,本发明所提供的一种电磁流量计的无衬里测量头,包括导流管、测量电极和励磁线圈,所述测量电极和励磁线圈各有两个,沿导流管的周向轴对称交替固定在导流管管壁上
所述导流管上固定有一全封闭的密封罩,其两端各设有一电磁配对法兰,其管壁上设有两个贯通其管壁的测量孔,每个测量孔对应一个测量电极,每个测量电极的一端插入其对应测量孔中,每个测量电极的外周面与对应测量孔的孔壁之间均用绝缘隔套隔离并密封,各测量电极及各励磁线圈均罩设在密封罩内,并各经导线引出密封罩,其特征在于:所述导流管是一塑胶绝缘管体。
进一步的,所述导流管的外周面贴覆有一层金属屏蔽层
进一步的,贴覆于导流管外周面的金属屏蔽层是不锈钢屏蔽层,其厚度为0.2土0.02m。
进一步的,所述导流管由耐热性大于等于130℃的热塑性材料制成,所述热塑性材料的材料成分为70%的尼龙和30%的玻璃纤维。
本发明提供的电磁流量计的无衬里测量头,由于导流管采用了塑胶绝缘管体,其自身具有绝缘性能,不需要再在其内壁另行粘附绝缘衬里,在流量测量过程中即便出现负压以及热冲击造成的温度剧烈变化,也不会发生流量信号被短路现象,其测量可靠性较高,而且在流量测量过程中除测量电极之外不存在法向电流,不会干扰流量信号,能提高测量精度。
 
附图说明
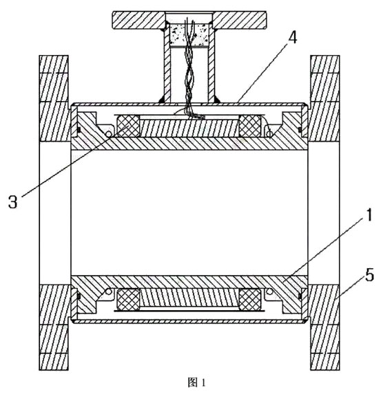
图1是本发明实施例的电磁流量计的无衬里测量头的主视剖切图
图2是本发明实施例的电磁流量计的无衬里测量头的侧视剖切图。

具体实施方式
以下结合附图说明对本发明的实施例作进一步详细描述,但本实施例并不用于限制本发明,凡是采用本发明的相似结构及其相似变化,均应列入本发明的保护范围。如图1-图2所示,本发明实施例所提供的一种电磁流量计的无树里测量头,包括导流管1、测量电极2和励磁线圏3,所述测量电极2和励磁线圈3各有两个,沿导流管1的周向轴对称交替固定在导流管管壁上;
所述导流管1上固定有一全封闭的密封罩4,其两端各设有一电磁配对法兰5,其管壁上设有两个贯通其管壁的测量孔,每个测量孔对应一个测量电极2,每个测量电极2的一端插入其对应测量孔中,每个测量电极2的外周面与对应测量孔的孔壁之间均用绝缘隔套隔离并密封,各测量电极2及各励磁线圈3均罩设在密封罩4内,并各经导线引出密封罩4;其特征在于:所述导流管1是一塑胶绝缘管体。
本发明实施例中,所述导流管1的外周面还贴覆有一层金属屏蔽层6
本发明实施例中,贴覆于导流管1外周面的金属屏蔽层6是不锈钢屏蔽层,其厚度为0.2±0.02mm,实际应用时也可以采用其它金属材料的屏蔽层。
本发明实施例中,所述导流管1由耐热性大于等于130℃的热塑性材料制成,所述热塑性材料的材料成分为70%的尼龙和30%的玻璃纤维。
本发明实施例测量被测介质流量时,通过导流管两端的电磁配对法兰将导流管接至被测管体,即可进行正常的流量测量在测量过程中除测量电极之外不存在法向电流,导流管外周面包覆的金属屏蔽层能进一步屏蔽外部干扰信号,提高测量精度。
 

上一条:用于电磁流量计电极的保护套结构
下一条:电磁流量计的分类、特点及选型


客户服务热线
15312307860

联系我们